海南产品展示
/ Products Classification 点击展开+详细介绍
一、DZ-03概述:
本底座确定探测器有
的安装位置,接线简单方便,适用于JTY-GF-GST104型点型光电感烟火灾探测器、JTWB-ZCD-G1(A) 型点型感温火灾探测器、JTFB-GOF-GST601型点型复合式感烟感温火灾探测器、JTG-ZW-G1B型点型紫外火焰探测器安装接线。
二、DZ-03结构特征、安装与布线:
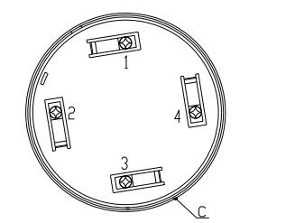
探测器安装接线盒可采用86H50型标准预埋盒,安装采用DZ-03定位底座,其示意图如下图:

定位底座上有四个带数字标识的接线端子,“1”接编址接口模块输出端的正极;“2”作为输出连接下一只探测器的电源正极(即“1”号端子);“3”与下一只探测器的电源负极(即“3”号端子)连到一起,并接在编址接口模块输出端的负极上;“4”不接线,用来辅助固定探测器。
输出回路终端接有GST-LD-8320终端器,底座“1”、“2”间连接一只1N5819二极管(注意极性)。
探测器底部示意图如下图:

探测器与底座上有定位凸棱,使探测器具有
的安装位置。定位底座A、B处有两个凸棱,探测器底部侧面C处有一个凸棱。装配时,将探测器凸棱C对准定位底座A处,顺时针旋转至B处即可安装好探测器。
探测器与GST-LD-8319输入模块配合应用。
布线要求:采用截面积≥1.0 mm2的阻燃RV或BVR线。
本文标签:
相关服务 / service
地区产品 / city
相关产品 / product
相关新闻 / news
- 海南行业认可!海湾消防斩获全球安全产业“智慧消防十大品牌”殊荣[ 2025-12-29 ]
- 海南消防联动系统包含哪些设备?[ 2025-12-27 ]
- 海南排烟风机可以不设置在机房内?此地明确[ 2025-12-27 ]
- 海南新国标,新升级|从民用安心到工业守护,海湾火灾探测器覆盖全场景安全[ 2025-12-22 ]
- 海南防烟排烟系统及通风、空调系统防火建设工程消防验收现场评定技术指南[ 2025-12-17 ]
- 海南海湾消防应急照明系统包括哪些[ 2025-12-17 ]
- 海南海湾防火门监视模块GST-FH-MC01可以用在火灾爆炸区吗?或者有没有可替换模块?[ 2025-12-12 ]
- 海南海湾两线制的,风机多线用什么型号的模块?总线用什么型号的模块?[ 2025-12-12 ]
联系我们
- 电话:4006-598-119
- 邮箱:1334605518@qq.com
- 地址:苏州市常熟市黄河路275号
- 版权所有:智淼君安(江苏)消防工程技术有限公司
- 海湾消防 www.gstyg.com 网站地图 (XML/TXT)
- ICP备案证书号:苏ICP备19022074号-10
苏公网安备32058102002167号
扫一扫,关注我们
- 海南关于我们
- 海南产品展示
- 海南火灾自动报警系统
- 海南气体灭火系统
- 海南电气火灾监控系统
- 海南消防电源监控系统
- 海南防火门监控系统
- 海南应急照明疏散系统
- 海南极早期空气采样系统
- 海南消防余压监控系统
- 海南可燃气体监控系统
- 海南智慧消防物联网系统
- 海南涉外消防设备
- 海南空气采样探测器
- 海南消防水炮系统
- 海南其它配件
- 海南联网及通讯接口
- 海南海湾消防技术视频
- 图探系统
- 海南新闻中心
- 海南技术文章

服务热线:

<
<
<
<
